ГОСТ Р 70848-2023 Оборудование противодымной защиты зданий и сооружений. Клапаны избыточного давления. Метод испытаний на огнестойкость
ГОСТ Р 70849-2023
НАЦИОНАЛЬНЫЙ СТАНДАРТ РОССИЙСКОЙ ФЕДЕРАЦИИ
Оборудование противодымной защиты зданий и сооружений
КЛАПАНЫ ОБРАТНЫЕ
Метод испытаний на огнестойкость
The equipment of smoke control systems. Check dampers. Test method for the fire resistance
ОКС 13.220.50
Дата введения 2023-09-01
Предисловие
Предисловие
1 РАЗРАБОТАН Федеральным государственным бюджетным учреждением "Всероссийский ордена "Знак Почета" научно-исследовательский институт противопожарной обороны Министерства Российской Федерации по делам гражданской обороны, чрезвычайным ситуациям и ликвидации последствий стихийных бедствий" (ФГБУ ВНИИПО МЧС России)
2 ВНЕСЕН Техническим комитетом по стандартизации ТК 274 "Пожарная безопасность"
3 УТВЕРЖДЕН И ВВЕДЕН В ДЕЙСТВИЕ Приказом Федерального агентства по техническому регулированию и метрологии от 15 августа 2023 г. N 640-ст
4 ВВЕДЕН ВПЕРВЫЕ
Правила применения настоящего стандарта установлены в статье 26 Федерального закона от 29 июня 2015 г. N 162-ФЗ "О стандартизации в Российской Федерации". Информация об изменениях к настоящему стандарту публикуется в ежегодном (по состоянию на 1 января текущего года) информационном указателе "Национальные стандарты", а официальный текст изменений и поправок - в ежемесячном информационном указателе "Национальные стандарты". В случае пересмотра (замены) или отмены настоящего стандарта соответствующее уведомление будет опубликовано в ближайшем выпуске ежемесячного информационного указателя "Национальные стандарты". Соответствующая информация, уведомление и тексты размещаются также в информационной системе общего пользования - на официальном сайте Федерального агентства по техническому регулированию и метрологии в сети Интернет (www.rst.gov.ru)
1 Область применения
1 Область применения
1.1 Настоящий стандарт устанавливает метод испытаний на огнестойкость обратных клапанов систем вытяжной противодымной вентиляции.
1.2 Настоящий стандарт не распространяется на обратные клапаны, являющиеся комплектной составной частью огнестойких вентиляторов и включенные в конструкторскую документацию на такие вентиляторы.
Данное оборудование подлежит испытанию на огнестойкость в составе вентиляторов в соответствии с ГОСТ Р 53302.
1.3 Работоспособность обратных клапанов по 1.1, устанавливаемых снаружи, должна быть дополнительно подтверждена в условиях эксплуатации, указанных в документации, в соответствии с ГОСТ 15150.
2 Нормативные ссылки
2 Нормативные ссылки
В настоящем стандарте использованы нормативные ссылки на следующие стандарты:
ГОСТ 12.1.019 Система стандартов безопасности труда. Электробезопасность. Общие требования и номенклатура видов защиты
ГОСТ 12.2.003 Система стандартов безопасности труда. Оборудование производственное. Общие требования безопасности
ГОСТ 12.3.018 Система стандартов безопасности труда. Системы вентиляционные. Методы аэродинамических испытаний
ГОСТ 6616 Преобразователи термоэлектрические. Общие технические условия
ГОСТ 15150 Машины, приборы и другие технические изделия. Исполнения для различных климатических районов. Категории, условия эксплуатации, хранения и транспортирования в части воздействия климатических факторов внешней среды
ГОСТ Р 8.585 Государственная система обеспечения единства измерений. Термопары. Номинальные статические характеристики преобразования
ГОСТ Р 53302 Оборудование противодымной защиты зданий и сооружений. Вентиляторы. Метод испытаний на огнестойкость
Примечание - При пользовании настоящим стандартом целесообразно проверить действие ссылочных стандартов в информационной системе общего пользования - на официальном сайте Федерального агентства по техническому регулированию и метрологии в сети Интернет или по ежегодному информационному указателю "Национальные стандарты", который опубликован по состоянию на 1 января текущего года, и по выпускам ежемесячного информационного указателя "Национальные стандарты" за текущий год. Если заменен ссылочный стандарт, на который дана недатированная ссылка, то рекомендуется использовать действующую версию этого стандарта с учетом всех внесенных в данную версию изменений. Если заменен ссылочный стандарт, на который дана датированная ссылка, то рекомендуется использовать версию этого стандарта с указанным выше годом утверждения (принятия). Если после утверждения настоящего стандарта в ссылочный стандарт, на который дана датированная ссылка, внесено изменение, затрагивающее положение, на которое дана ссылка, то это положение рекомендуется применять без учета данного изменения. Если ссылочный стандарт отменен без замены, то положение, в котором дана ссылка на него, рекомендуется применять в части, не затрагивающей эту ссылку.
3 Термины и определения
3 Термины и определения
В настоящем стандарте применены следующие термины с соответствующими определениями:
3.1 обратный клапан; ОК: Устройство, устанавливаемое перед вентилятором и предназначенное для исключения утечек воздуха через вентиляционную сеть системы вытяжной противодымной вентиляции при неработающем вентиляторе.
3.2 корпус клапана: Неподвижный элемент конструкции обратного клапана, который устанавливается перед вентилятором на воздуховоде или в монтажном стакане, предназначенном для установки вентилятора.
3.3 заслонка обратного клапана; заслонка ОК: Подвижный элемент конструкции обратного клапана, установленный в корпусе клапана и перекрывающий его проходное сечение или часть этого сечения.
3.4 предел огнестойкости: Промежуток времени от начала огневого воздействия в условиях стандартных испытаний до наступления нормируемого для ОК предельного состояния.
4 Критерии огнестойкости
4 Критерии огнестойкости
4.1 Наступление предельного состояния по огнестойкости определяется увеличением более чем на 15% перепада давления на ОК в процессе огневых испытаний по отношению к значению, полученному на начальном этапе испытаний после достижения на входе в образец одного из установленных значений температурного ряда: 200°С, 300°С, 400°С, 600°С.
5 Сущность метода и режим испытаний
5 Сущность метода и режим испытаний
5.1 Сущность метода заключается в определении времени, по истечении которого наступает предельное состояние по огнестойкости в соответствии с 4.1.
5.2 Температура газа, перемещаемого через образец, должна соответствовать одному из значений температурного ряда по 4.1. Относительное отклонение фиксированного (установленного) температурного значения не должно превышать значение ±5%.
5.3 Скорость газа, перемещаемого через образец, после достижения одного из значений температурного ряда по 4.1 должна быть равна 6 м/с ±10% и поддерживаться в течение всего времени испытаний.
5.4 Если изготовителем ОК декларируется более высокое значение минимальной скорости газа, при которой обеспечивается устойчивое открытие заслонки, то величина скорости на образце, приведенная в 5.3, подлежит увеличению до минимально необходимой с сохранением предельно допустимого отклонения ±10%.
6 Стендовое оборудование и измерительная аппаратура
6 Стендовое оборудование и измерительная аппаратура
6.1 Стенд для проведения испытаний ОК приведен на рисунках
А.1
,
А.2
(приложение А) и состоит из огневой камеры (печи) с внутренними размерами не менее 2,0
2,0
2,5 м, с проемом для подключения воздуховода, смесительной камеры размерами не менее 1,5
1,5
2,0 м с боковым проемом, перекрытым регулирующим шибером, и вентилятора, подключенного к смесительной камере.
6.2 Вентилятор стенда для проведения испытаний должен иметь подтвержденный по ГОСТ Р 53302 предел огнестойкости 2,0 ч/600°С. Подача вентилятора должна обеспечивать расход воздуха при 20°С не менее 40000
м
/ч (
- площадь проходного сечения испытуемого ОК, м
).
Напор вентилятора подбирается (рассчитывается) с учетом фактического сопротивления вентиляционной сети.
6.3 Боковой проем смесительной камеры должен иметь площадь не менее площади проходного сечения испытуемого образца. В обоснованных случаях допускается устройство проема с меньшей площадью.
6.4 Испытательный стенд оснащается средствами измерения температуры, интервалов времени, расхода газов и перепадов давлений.
6.5 Для измерения температуры используют термоэлектрический преобразователь (ТЭП) типа ТХА (технические условия по ГОСТ 6616), номинальные статистические характеристики и пределы допускаемых отклонений термоэлектродвижущей силы которых должны соответствовать ГОСТ Р 8.585 или ТЭП с индивидуальной градуировкой.
6.6 Для измерения температуры на входе в образец используют ТЭП с диаметром электродов не менее 1,0 мм. Место установки ТЭП приведено на рисунках
А.1
,
А.2
(приложение А).
Для измерения температуры перед вентилятором стенда, а также на комбинированном приемнике давления (КПД) используют ТЭП с диаметром электродов от 0,5 до 0,7 мм.
6.7 Регистрацию температуры осуществляют приборами с диапазоном измерения от 0°С до 1300°С, класса точности не менее 1,0.
6.8 Для измерения статического давления в мерном сечении следует устанавливать не менее четырех приемников в виде трубок с внутренним диаметром от 2 до 5 мм, расположенных равномерно по периметру воздуховода на его поверхности. Приемники статического давления должны быть соединены между собой трубкой с диаметром, превышающим диаметр отверстий приемников более чем в два раза.
6.9 Для регистрации давления газовой среды следует применять приборы (дифференциальные манометры, микроманометры и т.п.) класса точности не ниже 1,0. Для регистрации допускается применять цифровые дифференциальные манометры с погрешностью измерения:
- не более ±25% от измеряемого значения в диапазоне измеряемых значений от 20 до 50 Па;
- не более ±20% от измеряемого значения в диапазоне измеряемых значений от 51 до 200 Па.
6.10 Для измерения динамического давления газа используют КПД по ГОСТ 12.3.018. При этом мерный участок воздуховода должен быть прямым и иметь длину не менее 20D. Допускается уменьшение длины мерного участка воздуховода до 3D при условии установки выравнивающего устройства, осевая длина каждой ячейки которого должна быть не менее 6d ячейки. Расстояние от входа в расширительную камеру до мерного сечения во всех случаях должно быть равным 1,5D.
6.11 Для измерения интервалов времени следует использовать секундомеры класса точности не менее 2,0.
7 Подготовка к испытаниям
7 Подготовка к испытаниям
7.1 К испытаниям допускаются образцы, укомплектованные необходимыми для установочного монтажа узлами и деталями в соответствии с технической документацией завода-изготовителя.
7.2 Образцы, поставленные для испытаний, должны соответствовать конструкторской документации. Степень соответствия устанавливается входным контролем.
7.3 Габаритные размеры испытуемых образцов должны быть не более установочных размеров монтажных проемов испытательного стенда.
7.4 Испытуемый образец подлежит подключению (монтажу) на испытательном стенде в соответствии с одной из приведенных в приложении А схем.
8 Последовательность проведения испытаний
8 Последовательность проведения испытаний
8.1 Испытания следует проводить при температуре окружающей среды от 0°С до 40°С в том случае, если в технической документации на изделие не приведены другие условия на испытания.
8.2 До теплового воздействия на образец ОК должен быть включен вентилятор стенда и открыт боковой проем смесительной камеры.
8.3 После начала теплового воздействия и достижения на образце одного из значений температурного ряда, указанного в 4.1, посредством регулировочного шибера подлежит установке значение скорости газа по 5.3 (с учетом 5.4), при этом температура на входе в вентилятор не должна превысить значение 200°С. Допускается краткосрочное превышение температуры на входе в вентилятор до значения не более 300°С на время не более 180 с.
8.4 После открывания заслонки при необходимости проводят корректировку теплового режима в печи до восстановления на входе в образец одного из значений температурного ряда, указанного в 4.1.
Началом испытаний является момент открывания заслонки испытуемого ОК, при этом процедуры регулировки, описанные в 8.3, 8.4, должны быть проведены за время, не превышающее 180 с, а краткосрочное повышение температуры на образце не должно превышать значение
+50°С, где
- одно из значений температурного ряда по 4.1.
8.5 В процессе теплового воздействия на ОК проводят контроль и осуществляют измерение следующих параметров:
- температуры на входе в испытуемый образец ОК;
- температуры на КПД;
- температуры на вентиляторе стенда;
- перепада давления на испытуемом образце;
- динамического давления на КПД.
8.6 Окончание испытания соответствует моменту наступления предельного состояния, установленного в 4.1.
8.7 Если за время испытаний предельное состояние по 4.1 не достигается, испытания останавливают через 2,0 ч с момента начала испытаний, соответствующего 8.5.
8.8 При превышении одного из перечисленных в 8.3 значений температуры газа (200°С и 300°С), в т.ч. обоих значений, либо при невозможности их соблюдения, после окончания огневого испытания ОК и остывания корпуса вентилятора до температуры окружающей среды требуется провести диагностику его состояния на наличие деформации корпуса вентилятора, рабочего колеса, оплавления клеммной коробки, состояния смазки в подшипниках и др. При необходимости следует провести техническое обслуживание или заменить вентилятор на другой с аналогичными характеристиками (с учетом 6.2).
9 Смесительная камера стенда
9 Смесительная камера стенда
9.1 Для определения требуемых параметров смесительной камеры могут быть применены зависимости, приведенные в 9.2-9.5.
9.2 Температуру смеси на входе в вентилятор
, К, вычисляют по формуле
где
- удельная теплоемкость газа на входе в смесительную камеру, кДж/кг·°С;
- расход газа на входе в смесительную камеру, кг/с;
- температура газа на входе в смесительную камеру, К;
- удельная теплоемкость воздуха, поступающего в смесительную камеру через боковой проем, кДж/кг·°С;
- расход воздуха, поступающего в смесительную камеру через боковой проем, кг/с;
- температура воздуха на входе в смесительную камеру, К;
- удельная теплоемкость газа на входе в вентилятор, кДж/кг·К;
- расход газа на входе в вентилятор, кг/с.
9.3 Удельная теплоемкость газа
, кДж/кг·К, при температуре
, К, вычисляют по формуле
где a, b, c, d - коэффициенты, равные 1,3615; 7,0066; 0,0053; 20,7611, соответственно.
9.4 Плотность газа
, кг/м
, вычисляют по формуле
9.5 Расход газа
, кг/с, вычисляют по формуле
где D - диаметр мерного сечения, м;
V - скорость газа в мерном сечении, м/с.
10 Обработка результатов измерений
10 Обработка результатов измерений
Скорость газового потока V, м/с, вычисляют по формуле
где
- температура газового потока на КПД, °С;
- коэффициент преобразования динамического давления КПД;
- динамическое давление на КПД, Па.
11 Оценка результатов испытания
11 Оценка результатов испытания
11.1 Результаты испытаний действительны для ОК аналогичной конструкции, гидравлический диаметр
, мм, которых меньше гидравлического диаметра испытанного ОК (без ограничения), или больше испытанного, при этом удовлетворяет неравенству:
где
- гидравлический диаметр испытанного ОК, мм.
Гидравлический диаметр
, мм, вычисляют по формуле
где F и П - соответственно площадь и периметр ОК, мм.
11.2 Результаты испытаний ОК прямоугольного сечения не могут быть распространены на ОК круглого сечения и, соответственно, наоборот.
11.3 Для ОК, которые могут устанавливаться как горизонтально, так и вертикально, следует определять их работоспособность в двух режимах по схемам, представленным на рисунках
А.1
и
А.2
(приложение А). Принципиальные схемы испытаний для ОК, которые могут устанавливаться под другими углами [отличными от схем, представленных на рисунках
А.1
и
А.2
(приложение А)], должны быть изменены с учетом фактического угла расположения такого ОК.
12 Отчет об испытании
12 Отчет об испытании
12.1 Отчет об испытании должен содержать следующие данные:
- наименование организации, проводящей испытания;
- наименование и адрес заказчика;
- характеристика объекта испытаний;
- метод испытания (описание или ссылка);
- описание процедуры испытания;
- характеристики испытательного оборудования;
- результаты испытаний;
- оценка результатов испытаний.
12.2 Пример записи в отчете об испытаниях:
"Фактический предел огнестойкости обратного клапана типа ОК-1-
1000, подлежащего установке горизонтально, составляет 2,0 ч при температуре 400°С".
13 Техника безопасности
13 Техника безопасности
13.1 При проведении аэродинамических испытаний необходимо соблюдать требования безопасности и производственной санитарии согласно ГОСТ 12.2.003 и ГОСТ 12.1.019.
13.2 К испытанию допускаются лица, ознакомленные с техническим описанием и инструкцией по эксплуатации испытательного стенда.
13.3 Перед проведением испытаний необходимо проверить надежность креплений и соединений испытательного оборудования.
13.4 Все быстродвижущиеся и вращающиеся части стендовой установки должны иметь ограждения.
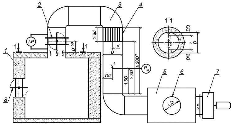
Приложение А (обязательное). Схемы стендов для проведения испытания на огнестойкость обратного клапана
Приложение А
(обязательное)
Схемы стендов для проведения испытания на огнестойкость обратного клапана
________________
- С учетом 6.10.
1 - огневая камера стенда (печь); 2 - испытуемый образец ОК; 3 - выравнивающее устройство; 4 - соединительный воздуховод; 5 - смесительная камера; 6 - боковой проем смесительной камеры с регулирующим шибером (задвижкой); 7 - вентилятор; 8 - воздухоприточный шибер;
- перепад давления на ОК;
- динамическое давление на КПД;
- ТЭП, установленные: 1-3 - в огневой камере; 4 - на КПД; 5 - на входе в вентилятор
Рисунок А.1 - Схема стенда для проведения испытания на огнестойкость обратного клапана, установленного вертикально
________________
- С учетом 6.10.
1 - огневая камера стенда (печь); 2 - испытуемый образец ОК; 3 - выравнивающее устройство; 4 - соединительный воздуховод; 5 - смесительная камера; 6 - боковой проем смесительной камеры с регулирующим шибером (задвижкой); 7 - вентилятор; 8 - воздухоприточный шибер;
- перепад давления на ОК;
- динамическое давление на КПД;
- ТЭП, установленные: 1-3 - в огневой камере; 4 - на КПД; 5 - на входе в вентилятор
Рисунок А.2 - Схема стенда для проведения испытания на огнестойкость обратного клапана, установленного горизонтально
| УДК 614.841:006.354 | ОКС 13.220.50 | |
| Ключевые слова: обратный клапан, смесительная камера, огнестойкость, метод испытаний |
